liputanindo.com – Bro sekalian, kali ini kita kedatangan Info yang Betul-Betul out of the box dari Iwata! Yamaha, melalui serangkaian aplikasi paten di Jepang, sedang mengeksplorasi sebuah konsep yang Bisa jadi akan mengubah Metode kita Menyantap knalpot motor sport di masa depan. Bukan sekadar urusan Bunyi atau flow gas buang, Yamaha Mau menjadikan knalpot sebagai sumber dorongan (thrust) yang Bisa dialihkan Buat meningkatkan handling motor! Gila kan?
Inti Idenya: Knalpot dengan Penutup Pengalih Arah (Valved Exhaust)
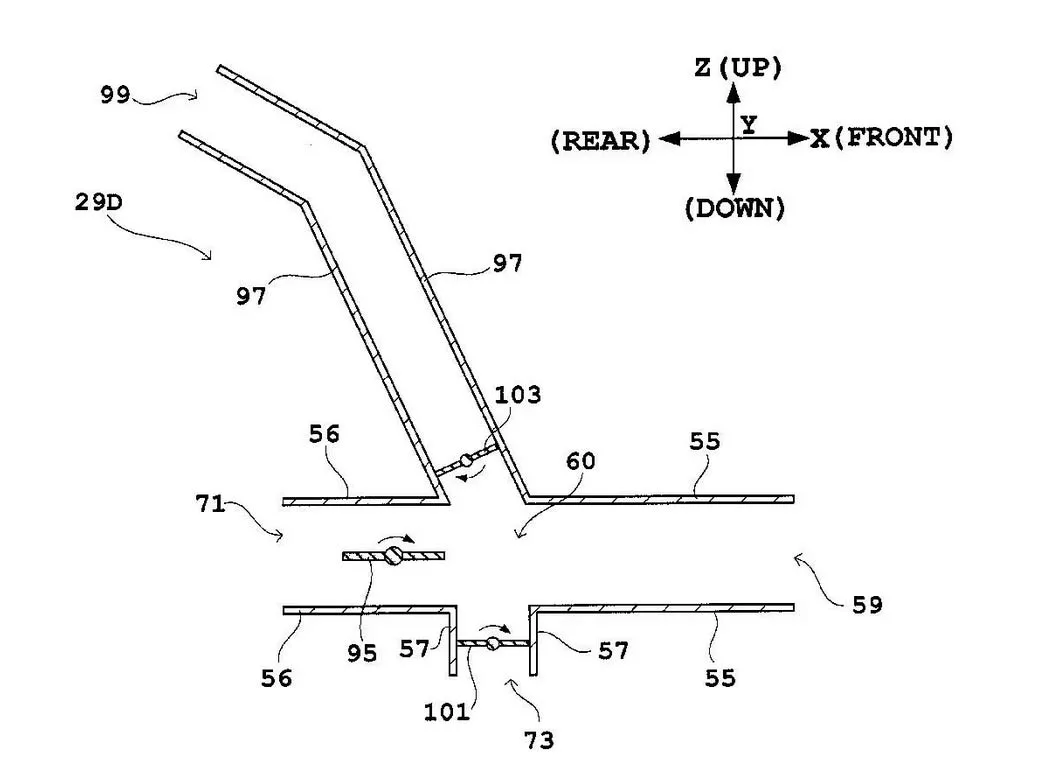
Secara konsep, ide Yamaha ini sangat teknikal Tetapi sederhana: menggunakan Penutup kupu-kupu (butterfly valve) di dalam sistem knalpot Buat mengarahkan Aliran gas buang ke beberapa outlet berbeda, tergantung kebutuhan motor Ketika itu.
Paten ini digambarkan menggunakan basis Yamaha MT-07, tetapi Terang tujuannya adalah motor performa tinggi, terutama Buat penggunaan di trek balap. Terdapat dua paten Primer yang Pusat perhatian pada fungsi berbeda:
1. Paten Anti-Wheelie: Menekan Roda Depan dengan Dorongan Knalpot!
Mekanisme:

-
Pemisahan Outlet: Knalpot dibagi dua: satu pipa besar berposisi rendah (Buat power maksimal dan flow bebas hambatan) dan satu pipa lebih kecil dan lebih tinggi, dimiringkan ke atas.
-
Fungsi Penutup: Ketika sistem diaktifkan (misalnya Ketika Percepatan penuh), Penutup akan mengalihkan sebagian gas buang ke pipa yang lebih kecil dan tinggi.
-
Dampak Dorongan: Diameter yang lebih kecil di pipa tinggi ini akan meningkatkan kecepatan gas buang (thrust). Karena posisinya yang tinggi dan sudutnya ke atas, dorongan ini menciptakan momen rotasi yang membantu menekan roda depan ke aspal.
Analisis liputanindo:
Ketika kita berakselerasi kencang, tenaga mesin seringkali dibatasi oleh traksi dan wheelie (roda depan terangkat). Ngapain punya power besar kalau Tak Bisa disalurkan?
Yamaha mengorbankan sedikit power mesin (karena flow gas dibatasi diameter kecil) Buat mendapatkan thrust ke Rendah yang mengatasi wheelie. Ketika kecepatan sudah tinggi dan wheelie bukan masalah, Penutup akan mengalihkannya kembali ke pipa besar Buat power maksimal.
Ini menjelaskan kenapa banyak motor MotoGP/WSBK menggunakan knalpot tinggi di Rendah jok! Dampak anti-wheelie secara Tak langsung mungkin sudah terjadi, dan Yamaha Mau membuatnya Bisa diaktifkan/dinonaktifkan.
2. Paten Pembantu Cornering (Cornering-Assist)

Mekanisme:
-
Pipa Vertikal: Mirip konsep anti-wheelie, tetapi knalpot dialihkan ke pipa sempit yang mengarah langsung ke Rendah Ketika motor tegak.
-
Aksi Ketika Lean Angle: Ketika motor mencapai lean angle penuh (miring), pipa yang tadinya mengarah ke Rendah kini menjadi mengarah ke samping luar tikungan.
-
Dampak Dorongan: Dorongan gas buang ini secara efektif mendorong motor ke arah tengah tikungan, membantu motor Ketika berada di tikungan, terutama ketika power mesin Tak Bisa dimanfaatkan penuh karena keterbatasan traksi Ketika miring.
Varian Lebih Kompleks:
Yamaha juga mematenkan versi yang lebih canggih dengan dua outlet bersudut yang memungkinkan gas diarahkan ke kiri atau kanan. Ini memberikan dorongan menikung bahkan pada lean angle yang Tak terlalu ekstrem.
Masa Depan: Gabungan Tiga Outlet dalam Satu Sistem
Paten pamungkas yang disajikan Yamaha menunjukkan niat Buat menggabungkan ketiga manfaat ini dalam satu sistem knalpot:
-
Outlet besar lurus ke belakang (Buat straight-line power).
-
Outlet kecil tinggi ke atas (Buat Anti-Wheelie).
-
Outlet kecil ke Rendah/samping (Buat Cornering-Assist).
Meskipun peningkatan performanya mungkin hanya sepersekian detik, di dunia balap, Keistimewaan fraksional Bisa menjadi penentu kemenangan.
Potensi Regulasi Balap: Sebuah Celah yang Cerdas
Penutup knalpot ini bekerja secara internal dengan memengaruhi Aliran gas buang, bukan Aliran udara eksternal. Oleh karena itu, teknologi ini kemungkinan besar Tak akan melanggar aturan yang melarang komponen aerodinamika bergerak (moveable aerodynamic components).
Di masa depan, ketika regulasi MotoGP dan WSBK semakin membatasi winglet dan Dampak aerodinamika, menggunakan Aliran gas buang yang dapat diarahkan Bisa menjadi Metode cerdas dan Formal bagi pabrikan Buat mengganti performa yang hilang akibat Restriksi aero.
Jadi, apakah knalpot akan segera menjadi komponen “aerodinamis” berikutnya yang Bisa diatur oleh ECU? Tunggu Lepas mainnya!
Bagaimana menurut brother sekalian? Apakah sistem knalpot seperti ini akan Membikin riding di sirkuit jauh lebih mudah dan Segera? – @liputanindo



