
liputanindo.com – Halo sobat liputanindo, kita akan kupas tuntas sebuah Penemuan teknis yang sangat menarik dari Borgo Panigale. Apabila biasanya kita mendengar istilah “MotoGP Technology” identik dengan sistem yang sangat rumit dan mahal, kali ini Ducati Malah mendaftarkan paten sebuah sistem transmisi balap yang secara mekanis tergolong sederhana Tetapi jenius.

Sistem ini dikenal dengan nama Ducati Racing Gearbox (DRG) yang dilengkapi dengan Ducati Neutral Lock (DNL). Pada Ducati Panigale V4 R 2026 (seperti yang terlihat pada gambar), yang dilengkapi dengan Ducati Racing Gearbox (DRG), Buat mengaktifkan posisi Independen diperlukan menekan tuas ibu jari pada setang kanan Buat melepaskan kunci Independen Sembari secara bersamaan menekan tuas kaki. Mari kita bedah detail teknisnya.

1. Perubahan Pola Perpindahan Gigi: N-1-2-3-4-5-6
Pada motor produksi massal umumnya, kita mengenal pola 1-N-2-3-4-5-6 (posisi Independen di antara gigi 1 dan 2). Tetapi, pada Ducati Panigale V4 R 2026, Ducati menerapkan pola N-1-2-3-4-5-6.
Kenapa pola ini digunakan?
-
Downshift Lebih Segera: Memudahkan pembalap melakukan downshift agresif hingga gigi 1 tanpa hambatan.
-
Menghindari “False Neutral”: Menghilangkan risiko masuk Independen secara Tak sengaja Ketika berpindah dari gigi 1 ke 2 atau sebaliknya Ketika hard acceleration/braking.
Tetapi, masalah muncul: Apabila Independen berada di paling Dasar (di Dasar gigi 1), Eksis risiko pembalap Tak sengaja menginjak tuas terlalu dalam Ketika downshift dan Malah masuk ke posisi Independen di tengah tikungan. Di sinilah Ducati Neutral Lock (DNL) berperan.

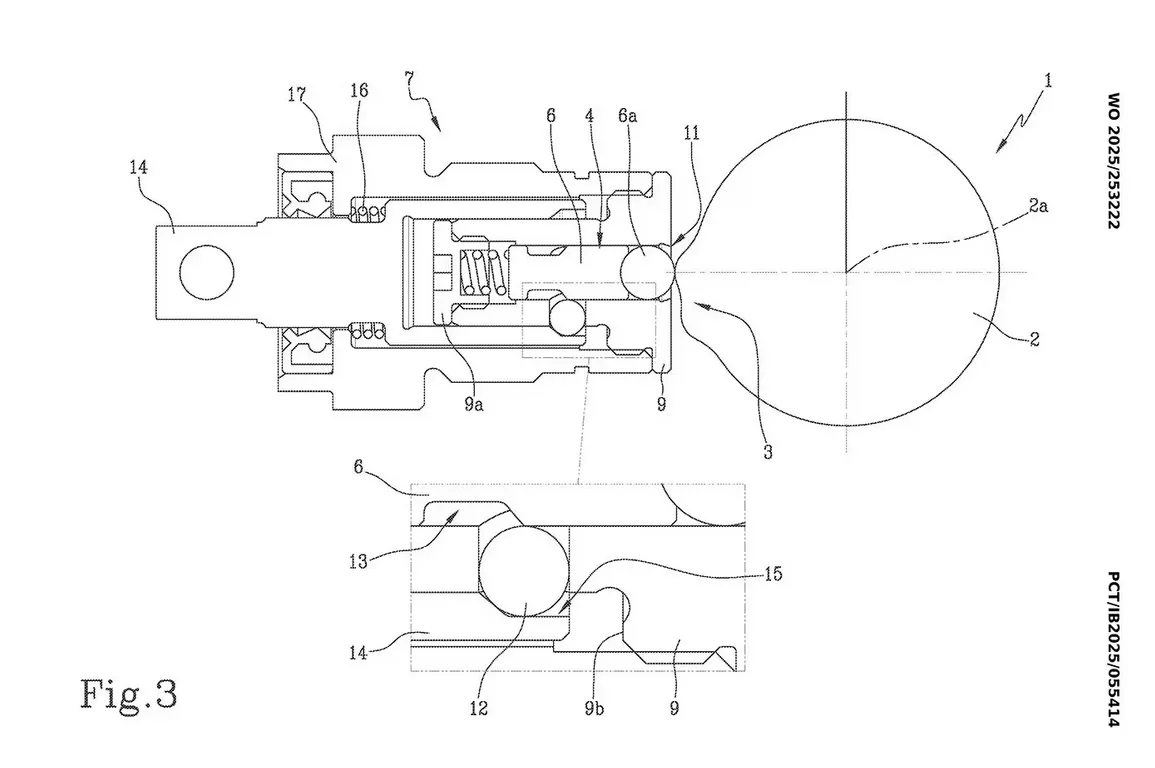
2. Mekanisme Kerja Ducati Neutral Lock (DNL)
Berdasarkan Arsip paten, sistem DNL ini berfungsi sebagai “penghalang fisik” agar drum pemilih gigi (shift drum) Tak Dapat berputar ke posisi Independen kecuali diinginkan oleh pengendara.

Komponen Penting:
-
Cam Spesifik: Terpasang pada ujung selector drum dengan profil lingkaran, Tetapi Mempunyai takikan (notch) Spesifik di posisi Independen.
-
Sprung Piston: Sebuah piston dengan ujung bola yang menekan permukaan cam.
-
Locking Balls (3 buah): Bola-bola kecil yang mengunci posisi piston.
-
Sliding Sleeve: Selongsong yang digerakkan oleh tuas jempol di setang kanan.

3. Metode Pengoperasian
Buat masuk ke posisi Independen, pengendara Tak Dapat hanya menginjak pedal kaki. Harus Eksis dua aksi simultan:

-
Aksi Tangan: Menekan tuas jempol di setang kanan. Aksi ini menarik sliding sleeve melalui kabel (atau solenoid/hidrolis), sehingga memberikan ruang bagi tiga bola pengunci Buat bergerak keluar.
-
Aksi Kaki: Menginjak pedal transmisi. Karena pengunci sudah lepas, piston Dapat terdorong masuk Ketika melewati tonjolan cam posisi Independen, dan gigi Independen pun Dapat terikat.
Mengapa Paten Ini Krusial?
Menariknya, Ducati merancang sistem ini hanya dengan 12 komponen. Ini adalah jumlah yang sangat sedikit Buat sebuah teknologi turunan MotoGP.

Analisis liputanindo:
-
Cost-Effective: Karena jumlah komponen sedikit, biaya produksinya rendah.
-
Reliability: Semakin sedikit komponen bergerak, semakin kecil risiko kegagalan mekanis.
-
Potensi Massal: Penggunaan sistem kabel sederhana (bukan elektronik rumit) memberikan sinyal kuat bahwa teknologi ini Tak hanya Buat Panigale V4 R yang mahal, tapi Dapat saja diaplikasikan ke Panigale V4 standar, Streetfighter, atau model Ducati lainnya di masa depan.

| Fitur | Transmisi Standar | Ducati Racing Gearbox (DRG) |
| Pola Gigi | 1 – N – 2 – 3 – 4 – 5 – 6 | N – 1 – 2 – 3 – 4 – 5 – 6 |
| Posisi Independen | Di antara 1 dan 2 | Di Dasar gigi 1 (atau atas Apabila GP-Shift) |
| Pengaman Independen | Tak Eksis (detent spring Normal) | Ducati Neutral Lock (DNL) |
| Aktivasi Independen | Pedal Kaki saja | Tuas Jempol (Tangan) + Pedal Kaki |
Teknologi ini membuktikan bahwa Penemuan Tak selamanya harus tentang sensor dan software, tapi sentuhan mekanis yang presisi tetap menjadi kunci di dunia balap. Semoga bermanfaat, salam dari Bogor
Taufik of BuitenZorg | @liputanindo


